欢迎光临爱游戏ayx体育网站!
全国咨询热线:

临沂YTH型外装式电动滚筒

  • 产品名称: 临沂YTH型外装式电动滚筒
  • 产品分类: 外装式电动滚筒
  • 公司名称: 爱游戏ayx体育
  • 添加时间: 19/04/11
  • 分    享:
产品详情
询盘


YTH型外装式电动滚筒工作的环境温度为-10℃~+40℃,输送物料的温度不超过60℃。使用地点的海拔高度一般不超过1000米,如果工作环境与上述条件不符,请与本公司联系。

其工作的环境温度为-15℃~+43℃,输送物料的温度不超过90℃。使用地点的海拔高度一般不超过1500米,如果工作环境与上述条件不符,请与本公司联系另行设计。 

YTH型外装式电动滚筒生产技术,硬齿面行星齿轮传动,运行平稳,早声低,过载能力强、功率范围大。

 可配置液力偶合器、逆止器、制动器,也可配隔爆电机,适用作各种恶劣环境下及有隔爆要求的大中型带式输送机的驱动的装置。

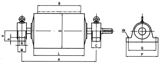
YTH型外装式电动滚筒的组成

YTH型外装式电动滚筒由滚筒体、驱动器及电机支架三部分(Ⅱ型无电机支架)。滚筒体主要包括滚筒壳体、支座及装在滚筒内的减速器组成。驱动器主要包括电动机,连轴器、液力偶合器、逆止器、制动器等不见。电机支架是用型钢焊接而成,用于安装电动机和护罩,用户也可按需要自行设计制造.



点击次数:   更新时间:19/04/11 17:28:04   【打印此页】   【关闭
联系我们

爱游戏(ayx)体育官方网站
地 址:山东淄博市淄博市博山开发区南域城工业园